В современном строительстве и реконструкции помещений все чаще на первый план выходят не только эстетика, но и безопасность, функциональность и скорость реализации проектов. Именно таким комплексным решением являются огнестойкие противопожарные перегородки на основе гипсокартонных плит Gyproc FR/GBF (Vetonit FR GBF) (ГСП DF) и Gyproc FK GBF (Vetonit FK GBF) (ГСП DP). Это оптимальный выбор для тех, кто ценит надежность, акустический комфорт, технологичность и экономическую эффективность.
Надежная защита от огня, подтвержденная документально.
Главный приоритет — безопасность жизни и имущества. Перегородки из плит Gyproc (Vetonit) обладают пределом огнестойкости EI 90. Это означает, что в течение 90 минут при воздействии открытого пламени конструкция сохраняет свою целостность и теплоизоляционные свойства. Эти ценные полтора часа являются критически важными для успешной эвакуации людей и предотвращения распространения огня.
При таких высоких показателях данное решение остается одним из самых экономичных на рынке. Мы предоставляем полный пакет разрешительной документации для вашего проекта, включая:
Протоколы огневых испытаний.
Техническое свидетельство.
Сборник узлов и технических решений.

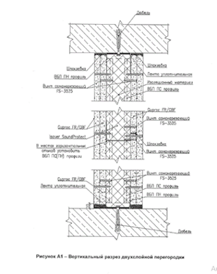
Размер плит: 2500×1200×12,5 мм, 3000×1200×12,5 мм.
Огнестойкость: EI 90 (90 минут).
Класс пожарной опасности: К0 (не поддерживает горение, безопасен при нагреве).
Акустический комфорт и тишина.
Помимо защиты от огня, перегородки эффективно решают проблему шума, создавая комфортную среду в офисах, квартирах и общественных зданиях. Уровень звукоизоляции напрямую зависит от толщины каркаса:
49 дБ — при использовании профиля 50 мм.
51 дБ — при использовании профиля 75 мм.
54 дБ — при использовании профиля 100 мм.
Технологичность и легкость монтажа.
Еще одно важное преимущество — легкость и скорость монтажа. Установка плит на металлический каркас не требует «мокрых» процессов, что особенно удобно при реконструкции помещений. Это значительно ускоряет строительство, упрощает перепланировку и позволяет возводить перегородки любой конфигурации.
При необходимости толщину перегородки можно увеличить со 100 мм до 125 мм и 150 мм, сохраняя при этом предел огнестойкости EI 90, при условии соблюдения требований Технического свидетельства.
Экологичность и проверенная надежность.
Материал полностью безопасен для здоровья, устойчив к деформации и отличается долговечностью. Наши решения — это не просто теория. Данные огнестойкие перегородки были успешно применены на многих знаковых объектах, например, в Национальном центре электронных услуг по ул. Притыцкого, 64 в Минске, что подтверждает их высочайшее качество и надежность.
Резюме:
Огнестойкие перегородки из гипсокартонных плит Gyproc (Vetonit) — это разумный и взвешенный выбор для современных строительных проектов. Они обеспечивают:
Максимальную противопожарную защиту.
Эффективную звукоизоляцию.
Быстрый и чистый монтаж.
Экономическую выгоду.
Долговечность и экологическую безопасность.
Это готовое, документально подтвержденное решение для создания безопасных, комфортных и функциональных пространств любого назначения.
Свяжитесь с нами, чтобы получить подробную консультацию и подобрать оптимальное решение для вашего объекта!